AK4496EN

Preview

129 dB Stereo Premium DAC

129 dB Stereo Premium DAC

Preview

Description

The AK4496EN is a Stereo Premium DAC that utilizes advanced Switched Capacitor Filter Voltage Output VELVETSOUND™ technology. The AK4496EN has six types of digital filters, realizing simple and flexible sound tuning options in wide range of applications. The AK4496EN accepts input formats up to 768 kHz, 32-bit PCM and DSD512, making it possible to accurately reproduce the information-rich, unaltered data of high-resolution audio sources. The package utilizes a 64-pin QFN, contributing to system miniaturization.

Key Features

  • S/N : 129 dB, 131 dB (Mono mode)
  • THD+N : -117 dB

Applications

  •                                 Network Audio, USB DACs, CD/SACD Players, Wireless Speaker Systems, Soundbars, Digital Audio Players, Electronic Musical Instruments, Audio Interfaces, Digital Mixers
                                

Specifications

Part Number
AK4496EN
Number of Channels
2
Analog Output Type
Differential
Bits [bit]
32
THD+N [dB]
-117
S/N [dB]
129 (131*)
Power Supply Voltage (MIN.) [V]
4.75 / 1.7 / 1.7
Power Supply Voltage (TYP.) [V]
5.0 / 1.8 / 1.8
Power Supply Voltage (MAX.) [V]
5.25 / 3.6 / 1.98
2Vrms Line Driver
-
Headphone Amplifier
-
Other
VELVETSOUND
Operating Temperature [℃]

                                
Device Package
VFQFN
Number of Pins
64

Product Information

Part Status
Preview
Pb Free
Yes
Halogen Free
Yes
MSL
MSL2
Packaging
TAPE
JEDEC Standard Packaging
Not Compliant
Minimum Order Quantity [pcs.]

                                
Replacement P/N

                                

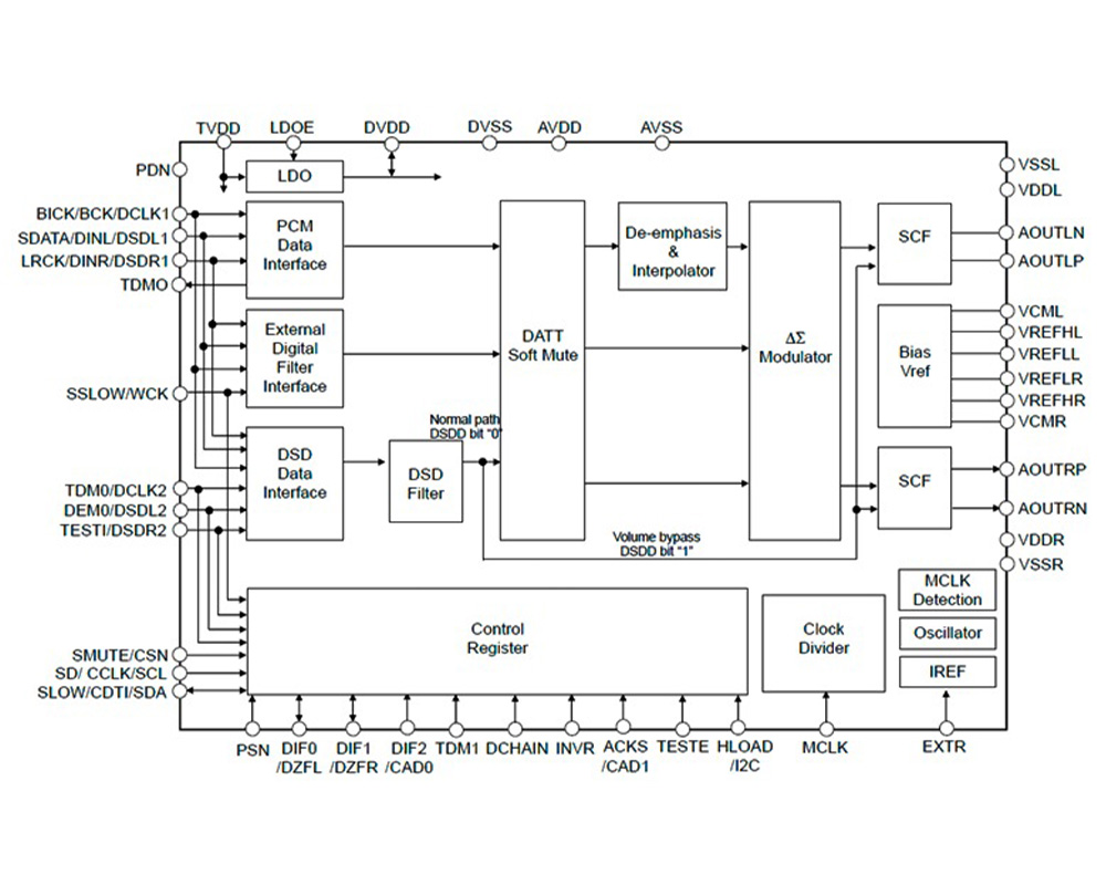
Block Diagram

Block Diagram

Download

Datasheet

AK4496EN Product Brief
English [Rev0.1]
(111pages, PDF)

Please fill in the following form and send it to us. 
A URL for downloading will be sent to your registered email address.

Note

・Please read our Terms and Conditions, Privacy Policy, and Cookie Policy before using this service.

・By submitting these forms, you agree to AKM’s Terms and Conditions, Privacy Policy, and Cookie Policy.

myAKM service

You can receive the latest product information and notifications of new and updated documents, news, topics, events and exhibitions by e-mail. We may also send you exhibition invitations or contact you by phone. Please refer to myAKM membership service for further details.

Premium audio op amp AK4911ET, AK4912ET 

Premium audio op amp

Audio operational amplifiers designed for low noise and low distortion help fully realize the performance of DACs and contribute to high‑quality analog output design. For more information on our AK491x series of operational amplifiers, please visit this page.

Contact AKM

Inquiries about Audio Components

To purchase a product or sample, ask technical questions about the product, request product information,
please fill in the following form and send it to us.